sorusgentrification.com
HOME
About
Contact
Disclaimer
Privacy
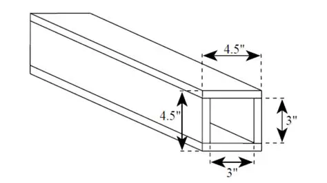
Calculating the Total Volume
Oct 13, 2025
by sorusgentrification.com
27
views